| Sujet : preampli Nouveau | De f6crv Le 06-01-2010 à 17:54 sta |
|
bonjour je recherche un schema de preampli GO-PO OC -je pense utiliser un bloc d'accord recupere sur un poste radio -je n'ai pas de place pour installer une grande antenne
|
|
| Sujet : preampli Nouveau | De Pierrot du 82 Le 06-01-2010 à 18:16 cms |
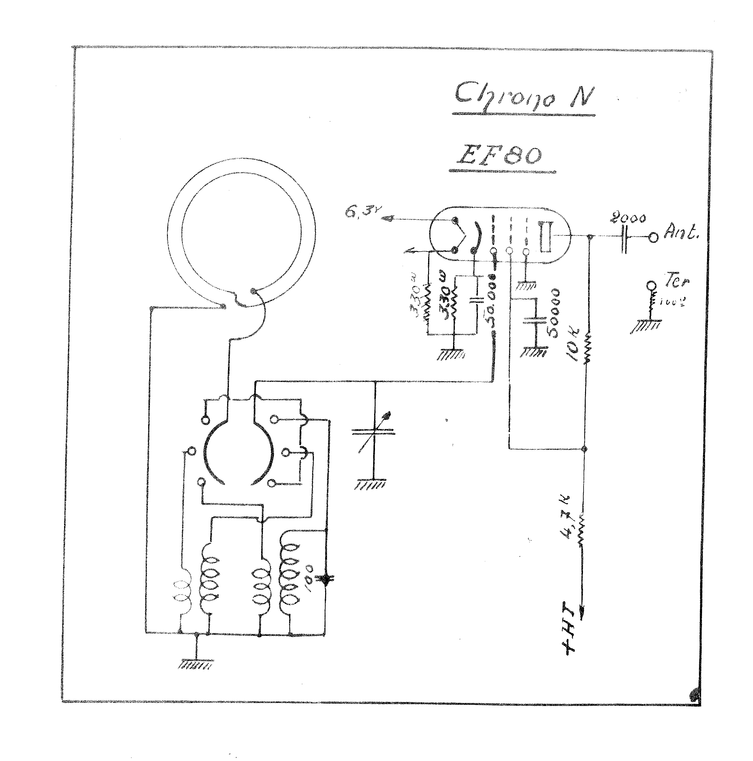
|  | Ce qu'il vous faut, c'est un cadre amplifié...--------------->
|  |
| |
|
| Sujet : preampli Nouveau | De Pierrot du 82 Le 06-01-2010 à 18:19 cms |
| |
|
| Sujet : preampli Nouveau | De f6crv Le 07-01-2010 à 15:01 sta |
|
bonjour -merci a pierrot pour les shemas -c'est ce que je recherchais --
|
|
| Sujet : preampli Nouveau | De jackoe Le 07-01-2010 à 15:30 sta |
|
C'est ce cadre là qu'il faut ! Il est un peu cher, mais quand on aime... 
| |
|
| Sujet : preampli Nouveau | De Jacques (webmestre) Le 07-01-2010 à 15:35 sta |
|
Ah ben vi, 2375 $, ca fait un peu cher le bout de ferraille...
|
|
| Sujet : preampli Nouveau | De Adams Le 07-01-2010 à 16:31 sta |
|
Il "monte" à 30 MHz ce qui est rare pour un cadre.
|
|
| Sujet : preampli Nouveau | De F1EVJ Le 07-01-2010 à 16:37 sta |
|
Un cadre qui monte, c'est normal ! (un ancien cadre qui a chu...) 
|
|
| Sujet : preampli Nouveau | De f6crv Le 07-01-2010 à 17:31 sta |
|
oulala -si je depense 2375$ pour un cadre qui n'a meme pas une belle photo yl va sortir le rouleau a patisserie-
|
|
| Sujet : preampli Nouveau | De F6CTP Le 07-01-2010 à 18:05 sta |
|
Pour bcp. moins cher il me reste encore quelques antennes active Datong à large bande des Go à 30 Mhz.
Matériel neuf fonctionne intérieure et exterieure brins rigide.
disons 20 euros + port.
@+
Guy
|
|
| Sujet : preampli Nouveau | De Pierrot du 82 Le 07-01-2010 à 18:23 cms |
|  | Guy, je vous ai envoyé un mail...
|  |
|
|
| Sujet : preampli Nouveau | De F6CTP Le 07-01-2010 à 19:04 sta |
|
Bien reçu vous avez la réponse.
Bonne soirée à tous
|
|
| Sujet : preampli Nouveau | De jackoe Le 07-01-2010 à 20:02 sta |
|
Moi aussi, je vous ai envoyé un courriel, Guy, voir 2... ![[:Hi:]](s12.gif)
|
|
| Sujet : preampli Nouveau | De christian24 Le 07-01-2010 à 20:48 sta |
|
bonsoir
un lien sur le matériel Datong
antennes actives et filtres .
datong ne se consacre plus au matériel amateur.
christian
|
|
| Sujet : preampli Nouveau | De F6CTP Le 07-01-2010 à 20:50 sta |
|
Ben oui et j'ai fais 2 réponses mais je n'ai pas d'accusé ??
Pour les servos je parle du poids 4 Kg le moteur seul et 8 avec la vis et le plateau regarder dans vos BL les enfants Papy est à votre écoute.
Guy
|
|
| Sujet : preampli Nouveau | De F6CTP Le 07-01-2010 à 20:53 sta |
|
Attention jeune gens la Bl qui vous à répondu est monauto@laposte.net elle est peut être détournée chez vous
Attention sloop est peut être en train de démolir ma messagerie !!!
Je sors vite !!!
|
|
| Sujet : preampli Nouveau | De F6CTP Le 07-01-2010 à 21:36 sta |
|
Pas de pb je passerai l'historique de Datong si vous le voulez nous avons travaillé ensemble pendant une dizaine d'année et Davit Tong le fondateur a pris sa retraite q.q. années après moi.
Ses successeurs ont orienté la firme différament.
@+
G
|
|
|