| Sujet : après 80.. noël!! Nouveau | De Jean pierre k Le 21-12-2006 à 23:52 cms |
|  |
Bonsoir,
Je vient d'installer a la place d'honneur ce vénerable ancètre!!!a 4 lampes ,apres une petite remise en etat du "vario" il fonctionne a merveille (GO lux,europe,inter.)(PO France bleu, et quelques étrangers!) je lui est fait une alime..."ROLLS" 80 volts réglable+ filtre 400µF+ self 1500ohm +400µf , et une de 5 volts avec un 7805 + capa de 47000µf!
en attendant j'utilise comme antenne la guirlande de nöel qui ceinture la maison sous la gouttiere(50métre environ!!)quelle gain !!!! et la terre de l'installation électrique!
JOYEUX NOEL A TOUS!
JPK'
|  |
| |
|
| Sujet : après 80.. noël!! Nouveau | De PAPYLULU Le 22-12-2006 à 09:19 sta |
|
C'est quand même les appareils que je préfère .Minimum 80 ans et ça repare pour "autant" pourquoi pas.
Pour l'alim JPK tu sais ce qui te reste a faire,j' ai quelques postes batterie !!!!!!
Très beau soleil en bourgogne JPL
PS: Quand on nous dit que les lampes avaient une durée de vie très courte elles ont le même age???
|
|
| Sujet : après 80.. noël!! Nouveau | De J-François Le 27-12-2006 à 13:22 sta |
|
Bonjour :
J'en possède un dans le même genre
avez vous le schéma ?
Je suis en route pour le relevé Tubes : A..1N, A425, --09, B409.
Merci
Bonne fêtes de fin d'année
J-François
![[:Hi:]](s12.gif)
|
|
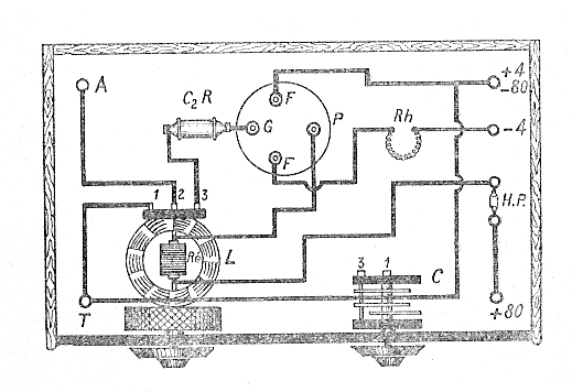
| Sujet : après 80.. noël!! Nouveau | De JC Négret Le 27-12-2006 à 19:16 sta |
|
Bonjour,
Ce doit être : A441N bigrille, A425 triode, A409 triode, B409 triode plutôt en BF.
Voici un plan typique d'un 4 lampes comme le vôtre :
JC 
| |
|
| Sujet : après 80.. noël!! Nouveau | De Jean pierre k Le 27-12-2006 à 22:29 cms |
|  |
Bonsoir,
dans mon poste il y a :1/A409 +1A/419 +1/A409 +1DZ908....1 transfo bf 1/1 un 2 em transfo bf 1/3 la self principale est genre appeler improprement "variométre" la bobine de réaction est tournante dans les bobinages qui l'entoure!!,pour le reste je vais essayer de re faire le schéma !
A + JPK'
|  |
|
|
| Sujet : après 80.. noël!! Nouveau | De Jacques (webmestre) Le 28-12-2006 à 05:30 sta |
|
|
|
| Sujet : après 80.. noël!! Nouveau | De JC Négret Le 28-12-2006 à 08:39 sta |
|
Ce doit être A409.
Sûrement une détectrice à réaction suivie de 3 lampes BF. C'est bien ce type de bobines ?
JC 
| |
|
| Sujet : après 80.. noël!! Nouveau | De J-François Le 28-12-2006 à 08:52 sta |
|
Bonjour ;
Merci pour la réponse
Ne vous cassez pas la tête à faire le relevé ... sauf si besoin !
Pour ma part j'ai fini et j'ai donc pu faire un premier bilan:
A441N , A415 (Hs Filament coupé) A425(Hs Filamen t coupé), B 409 et une dernière B409
non présente (les références étant marquées sur la bakélite sont apparus au nettoyage !)
Par contre le dernier transfo est Hs (bobinage coupé au ras du nid d'abeille coté intérieur).
Je serais donc à la recherche : A415 , A425 ,B409 et un transfo ... cela fait pas mal de dégats quand même.
Merci par avance pour les éventuelles propositions
J-François
![[:Hi:]](s12.gif)
| |
|
| Sujet : après 80.. noël!! Nouveau | De Jean pierre k Le 28-12-2006 à 10:57 cms |
| |
|
| Sujet : après 80.. noël!! Nouveau | De Jacques (webmestre) Le 28-12-2006 à 11:12 sta |
|
Ben parce que la A419 n'a jamais existé, que je sache 
|
|
| Sujet : après 80.. noël!! Nouveau | De JC Négret Le 28-12-2006 à 11:23 sta |
|
Ce doit être une A415 avec un 5 peu lisible, aucune A419 en vue...
JC 
|
|
| Sujet : après 80.. noël!! Nouveau | De Jean pierre k Le 28-12-2006 à 11:44 cms |
| |
|
| Sujet : après 80.. noël!! Nouveau | De Jacques (webmestre) Le 28-12-2006 à 11:44 sta |
|
ou alors une A412 avec la barre du 2 en cavale 
|
|
| Sujet : après 80.. noël!! Nouveau | De Jean pierre k Le 28-12-2006 à 13:30 cms |
| |
|
|